8-800-201-65-87
 Служат для формирования изолированных разъемных соединений цепи по принципу «вилка-розетка». Использование разъемов делает возможным оперативное размыкание/ замыкание цепи, а также переключение различных контуров электрических схем в новые конфигурации.
Служат для формирования изолированных разъемных соединений цепи по принципу «вилка-розетка». Использование разъемов делает возможным оперативное размыкание/ замыкание цепи, а также переключение различных контуров электрических схем в новые конфигурации.
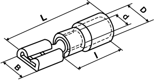
| Изобр. | Наим. | Диап. сечений пр-ков, мм2 | Размеры, мм | Артикул | ||||
| B | D | d | L | |||||
| Разъемы плоские  | РпИп 1,25-5-0,8 | 0,75*1,5 | 4,75 | 4,30 | 1,70 | 20,5 | 10,7 | URP10-D15-D17-4 | 
| РпИп 2-5-0,8 | 1,5*2,5 | 4,75 | 4,30 | 2,30 | 20,5 | 10,7 | URP10-D25-D23-4 | |
| РпИп 5-6-0,8 | 4,0*6,0 | 6,35 | 5,70 | 3,40 | 25,0 | 13,5 | URP10-006-D34-6 | |
| Разъемы плоские  | РпИм 1,25-250 | 0,5*1,5 | 7,40 | 3,80 | 1,70 | 21,5 | 10,7 | URM10-D15-D17-7 | 
| РпИм 1,25-5-0,8 | 0,5*1,5 | 5,60 | 3,80 | 1,70 | 19,0 | 10,3 | URM10-D15-D17-5 | |
| РпИм 2-250 | 1,5*2,5 | 7,40 | 4,30 | 2,30 | 21,5 | 10,7 | URM10-D25-D23-7 | |
| РпИм 2-5-0,8 | 1,5*2,5 | 5,60 | 4,30 | 2,30 | 20,5 | 10,7 | URM10-D25-D23-5 | |
| РпИм 5,5-6-0,5 | 4,0*6,0 | 7,40 | 5,70 | 3,40 | 25,0 | 13,5 | URM10-006-D34-7 | |
| Разъемы штекеры  | РшИп 1,25-4 | 0,5*1,5 | 4,0 | 1,7 | 21,0 | 10,3 | URP20-D15-D17-4 | |
| РшИп 2-5-4 | 1,5*2,5 | 4,0 | 2,3 | 21,0 | 10,3 | URP20-D25-D23-4 | ||
| РшИп 5,5-4 | 4,0*6,0 | 4,0 | 3,4 | 24,7 | 13,7 | URP20-006-D34-4 | ||
| Разъемы штекеры  | РшИм 1,25-5-4 | 0,5*1,5 | 4,0 | 1,7 | 26,5 | URM20-D15-D17-4 | ||
| РшИм 2-5-4 | 1,5*2,5 | 4,0 | 2,3 | 24,5 | ||||
| РшИм 5,5-6-4 | 4,0*6,0 | 5,0 | 3,4 | 25,0 | URM20-006-D34-4 | |||
|  | РпИп 1,25-5-0,8 | 
| РпИп 2-5-0,8 | |
| РпИп 5-6-0,8 | |
|  | РпИм 1,25-250 | 
| РпИм 1,25-5-0,8 | |
| РпИм 2-250 | |
| РпИм 2-5-0,8 | |
| РпИм 5,5-6-0,5 | |
|  | РшИп 1,25-4 | 
| РшИп 2-5-4 | |
| РшИп 5,5-4 | |
|  | РшИм 1,25-5-4 | 
| РшИм 2-5-4 | |
| РшИм 5,5-6-4 |